Том 7, №1, 2019
21673
Аннотация
Таблицы и рисунки
Rice is now the main food for about 35 million people in Nigeria, and consumption is increasing faster than that of any other food crop in many countries in Africa. This study provided essential engineering data on the physical properties of selected varieties of local rice in Nigeria. Some selected physical properties of Igbemo, Ofada and Abakaliki rice varieties at harvest, market, and storage conditions were evaluated as a function of moisture content. The latter ranged from 12.38 to 25.69% (dry base). We also determined the physical properties of the rice samples, such as moisture content, linear dimensions, geometric mean diameter, arithmetic mean diameter, surface area, aspect ratio, sphericity, bulk density, and hundred kernel weights. A result of the linear dimensions for the major diameter was 8.4–10.3 mm, 6.4–6.55 mm, and 5.9–7.4 mm for harvested, marketed, and stored rice, respectively. The minor diameter ranged from 2.70 to 3.29 mm, 2.49 to 2.63 mm, and 2.56 to 2.74 mm, and the intermediate diameter of the rice varieties at harvest, market, and storage conditions was 1.92–2.29 mm, 1.90–2.02 mm, and 1.87–1.99 mm, respectively. Depending on the conditions and varieties, the bulk density, true density, and porosity, was observed to be between 0.59 to 0.90 g/cm³, 2.28 to 5.57 g/cm3 and 70.38 to 85.35% respectively.
35539
Аннотация
Таблицы и рисунки
Coffee pulp is the first waste product obtained during the wet processing of coffee beans. Coffee pulp makes up nearly 40% of the total weight of the coffee cherry. Coffee pulp contains 25.88% of cellulose, 3.6% of hemicel- luloses, and 20.07% of lignin. Coffee pulp is considered as an ideal substrate of lignocellulose biomass for micro- bial fermentation to produce such value-added products as ethanol. In this study, we used alkaline pre-treatment of the coffee pulp with NaOH (0.2 g/g biomass) in a microwave system at 120°C during 20 min. This method gave the best results: 71.25% of cellulose remained, and 46.11% of hemicellulose and 76.63% of lignin were removed. After that, the pre-treated biomass was hydrolyzed by Viscozyme Cassava C (enzyme loading was 19.27 FPU/g) at 50°C for 72 hours. The results showed that the highest reducing sugars and glucose concentration after hydrolysis were 38.21 g/l and 30.36 g/l, respectively. Then, the hydrolysis solution was fermented by S. cerevisiae (3.108 cells/ml) at 30°C for 72 hours. The highest concentration of ethanol obtained was 11.28 g/l. The result illustrated that, available and non- edible as it is, coffee pulp could be a potential feedstock for bioethanol production in Vietnam.
15096
Аннотация
Таблицы и рисунки
This study evaluated the effects of edible coatings and different packaging methods on the shelf-life and quality of walnut kernels. It focused on the coatings with chitosan (1%) and thyme essential oil (TEO) at concentrations of 500 and 1,000 μl L–1 (CT500, CT1,000) or with chitosan alone (CT). The effects of the coatings was assessed for different packaging methods (LP, loose packaging; PP, packaging in polypropylene bags; and AP, active packaging) as contrasted to control walnuts (C). Walnuts were stored for 120 days in darkness, with relative humidity of 55%, at 4°C. The results showed that the L* index and moisture content of the samples in the chitosan with 500 and 1,000 μl L–1 thyme essential oil in active packaging were maximum, whereas peroxide and conjugated diene values were minimum. The lowest rate of mold growth was observed for the chitosan samples with 500 μl L–1 thyme essential oil in active packaging. The best overall acceptability score was related to the samples with chitosan alone and the chitosan with 500 μl L–1 thyme essential oil in active packaging. The chitosan alone and the chitosan with 500 μl L–1 thyme essential oil in active packaging are recommended for storage of kernels at 4°C.
16302
Аннотация
Таблицы и рисунки
One of the negative trends in current nutrition is an increased consumption of refined foods with a low content of useful nutrients and antioxidants and an abundance of oxidation accelerators. Fruit paste and jelly have a relatively low energy value, compared to other confectionery products. Along with this fact, they also have gelling agents and fruit raw materials in their composition, which can classify them as diet food. This paper presents a comprehensive approach to developing a technology for producing fruit jelly with an improved carbohydrate profile. For that, we used viburnum and orange puree, a valuable natural plant material, as a source of carbohydrates, and fructose, as a sugar substitute. The qualimetric model created from the tasting data was used to select the optimal proportions of the main ingredients, viburnum and orange puree, as 25:75 and 75:25. The comparative assessment of antioxidant capacity (AOC) showed that the sample with the 75:25 ratio of viburnum to orange puree had an AOC of 22.33 μmol TEq/g. It was twice as high as AOC of the 25:75 ratio sample. With a glycaemic index of 29.2, this fruit jelly can be recommended as a diet food with preventative properties.
19241
Аннотация
Таблицы и рисунки
The present research features such natural herbal extracts as rosemary (Rosmarinus officinalis L.), pomegranate (Punica granatum L.), and green tea (Camellia sinensis L.). Together with vitamin E, they were chosen to investigate hemp oil stability. The experiments revealed the effect of various fatty acids compositions on hemp oil properties. The effect of herbal extracts on the oxidative stability of oils was measured using the Rancimat method. The chemical tests included peroxide value (PV), free fatty acid (FFA) value, and acidity value (AV). Each herbal extract was applied in amounts of 30 mg/l and 50 mg/l. Vitamin E was mixed with the oil in the amount of 2 g/l. The changes in PV, FFA, AV, and fatty acid composition were measured on day 6, 12, 18, and 24. Hemp oil, pure or mixed with the extracts, was analyzed using the Rancimat method at 120°C with an airflow rate of 20 l/h to identify the in- duction periods (IP). IP values of oils with additional herbal extracts were found to be significantly higher (p < 0.05) than those of the control samples. The oil sample with vitamin E demonstrated the longest IP (4.12 hours at 120°C) during the Rancimat test. The herbal extracts and vitamin E had a positive effect on hemp oil PV compared with the control sample. Gas chromatography (GC) showed that hemp oil included a high amount of polyunsaturated Ome- ga-3 fatty acids, and the oil was not resistant to oxidation. In general, the natural herbal extracts and vitamin E in the recommended quantities had a positive effect on the oxidative stability of hemp oil.
13686
Аннотация
Таблицы и рисунки
The present study aimed to evaluate the effect of various bran sources, including wheat, barley, and rice, on the quality and volatile compounds of Egyptian ‘balady’ bread (Fino). The protein, fat, and total carbohydrates content of the studied brans ranged from 8.49 to 14.16%, 2.16 to 8.12%, and 34.38 to 85.06%, respectively. The mi- neral composition and colour parameters of the brans were also evaluated. The substitution of wheat flour with 10%, 20%, and 30% of different brans resulted in decreased loaf volume and specific volume, and increased loaf weight. A significant decrease in colour parameters (L, a, and b) of the bread crust and crumb were observed in all the sam- ples. The addition of bran at three concentrations showed a remarkable increase in the total phenolic content of the bread samples, compared to the control. The antioxidant activity of the bread samples fortified with brans showed the following order: RB (rice bran) > BB (barley bran) > WB (wheat bran), as determined by the DPPH and β-carotene assays. Thirty-six volatile compounds identified in the bread samples using GC-MS included 5 alcohols, 6 pyrazines, 2 acids, 9 aldehydes, 5 ketones, 3 esters, and 6 sulphur-containing compounds. Alcohols were the predominant volatile constituents accounting for 58.3; 61.57; 59.08; and 56.15% in the control and in the bread samples prepared with bran from rice, barley, and wheat, respectively.
12521
Аннотация
Таблицы и рисунки
Marinating is a traditional technology to improve the shelf - life and quality of products. Enriched Vietnamese tamarind fish sauce was prepared and used to marinate green mussels. Subjects of this research were: green mussels (C1), marinated green mussels (C2), and marinated green mussels packaged in modified atmosphere (M1, M2, and M3). A percentage of O2:CO2:N2 was 5:50:45 for M1, 5:70:25 for M2, and 5:90:5 for M3. Microbiological, hemical, and sensory qualities of the samples were analyzed during storage at 4°C for 30 days. The results indicate that glycogen, iron, and zinc contents as well as pH values decreased in all the cases during storage. In addition, TVB-N and TBARS values as well as mesophilic and lactic acid bacteria increased with time in all the samples. The number of psychrophilic bacteria in marinated samples was small or not detected at all. Escherichia coli, Staphylococcus aureus, Salmonella spp. and Vibrio cholera were below standard values. Based on sensory acceptability, the shelf-life of C1, C2, M1, M2, and M3 samples was 12, 18, 24, 24, and 27 days, respectively.
24448
Аннотация
Таблицы и рисунки
The present work includes results on enrichment of pasta, a mass-consumption product, with protein. Meat products, legume (Leguminosae L.) flour and plant protein isolates were used as protein-containing additives. The content of protein and essential amino acids in the additives makes them promising for improving the biological value of pasta. We studied effects of the additives on raw gluten and wheat flour starch properties, pasta dough rheological characteristics, and finished product quality. As a result, the following optimal amounts of the additives were established: 15% by weight of flour for meat, 10% by weight of the mixture for pea and lentil flour as well as plant isolates, and 7.5% by weight of the mixture for soy flour. The enriching components added in pasta dough were found to have a positive effect on pasta quality. These increased protein content by 1.59–8.19%, biological value by 6–16%, utility coefficient of amino acid composition by 0.2–0.26, protein digestibility by pepsin by 11–24%, and daily protein intake level by 31.4–12.5%.
11736
Аннотация
Таблицы и рисунки
The paper introduces some experimental data on activated carbons of Granucol series that can improve the colour of sea-buckthorn wines and stabilize them during storage. Such treatment is necessary because sea buckthorn contains reactive phenolic compounds that trigger non-enzymatic oxidative browning in sea-buckthorn wine. A di- rect regulation of the amount of phenolic compounds can improve sensory characteristics of sea-buckthorn wines, as well as increase their shelf-life. The research featured table dry wine made of 10 varieties of sea buckthorn grown in the Altai region. The chromatic characteristics were studied according to the existing guidelines of the International Organization of Vine and Wine (OIV, France). The index of yellowness served as an additional indicator for the colour assessment of the sea-buckthorn wines. Another objective indicator of colour assessment was the index of the displacement of the colour of x and y coordinates that corresponded with the green-red and yellow-blue chromatic axes. When 20–60 mg/100 ml of Granucol activated carbon was used during the winemaking process, it significantly improved the harmony of the sea-buckthorn wines. In particular, it had a positive effect on the colour characteristics. Granucol carbon reduced such unfavourable taste characteristics as excessive roughness (the total amount of polyphe- nolic compounds fell by 1.5–2 times) and significantly improved the aroma by erasing the yeasty and fusel odours.
20308
Аннотация
Таблицы и рисунки
The present research features a natural polymer that can be used for immobilisation of bifidobacteria as well as a method of immobilisation. We described a modified method of microencapsulation of probiotics using sodi- um alginate. The experiment studied the effect of encapsulation on probiotic stability and involved an in vitro model of human digestive tract. The test sample of microencapsulated Bifidobacterium bifidum 791 showed a decrease in the activity from 3.0×107 to 2.2×105 CFU/ml in a mouse model with pH 1.2. By contrast, the control sample, unprotected by biodegradable polymer microcapsules, demonstrated a higher death rate of bifidobacteria: from 2.6×108 CFU/ml to 5.0×103 CFU/ml. The control sample demonstrated the same downward trend in in vitro gastrointestinal models with pH values of 4.5, 6.8, 7.2, and 5.8. Because the total plate count fell down to 4.0l g CFU/ml in acidity gradients, the titres of the initial microencapsulated biomass had to be increased up to > 109 CFU/ml. According to the results of scanning electron microscopy, the new type of microcapsules obtained by using a resistant starch had a closed sur- face. Prebiotics increased the resistance of bacteria to low pH and bile salts. Bifidobacteria encapsulated with natural biodegradable polymers proved to be well-tolerated and harmless for mice. The experiment revealed that biodegrad- able polymer microcapsules did not cause any chronic or acute toxicity when administered orally at 2×107 CFU per 1 gram of animal mass. The microcapsules demonstrated neither dermonecrotic properties nor any irritant effect on the ocular mucosa and, thus, can be used for food enforcement.
19475
Аннотация
Таблицы и рисунки
Immunodeficiency causes a lot of modern diseases. Immunodeficiency, in its turn, is caused by such factors as polluted environment, chronic stress, sedentary lifestyle, unbalanced diet, etc. All these factors weaken respi- ratory organs and gastrointestinal tract, disturb hormonal regulation, and destabilize immune defence. Food industry responds to these challenges by developing functional foods and dietary supplements from medicinal plants. Dietary supplements made from natural plant extracts have more advantages than their numerous synthetic analogues. They produce a mild therapeutic effect and no pronounced side effects. Purple Echinacea (Echinacea purpurea L.) possesses immunomodulatory, anti-inflammatory, antiviral, and tonic properties. However, climatic and soil conditions are known to affect the qualitative and quantitative profile of biologically active substances. The present paper describes the micronutrient profile of various parts of Echinacea purpurea grown in the Kemerovo region. The study employed a complex of physical and chemical methods. The research featured leaves, roots, and flowers, as well as components extracted from the plant with the help of a 70% ethanol solution. The latter was chosen for its universal properties in micronutrient extraction. The methods included high performance liquid chromatography (HPLC), thin layer chromatography (TLC), and IR spectroscopy. A set of triple experiments showed that the extracts contained substances with anti-inflammatory, antioxidant, and immunomodulating properties. Thus, Echinacea extract can be recommended for functional foods and dietary supplements.
14737
Аннотация
Таблицы и рисунки
The kinetics of the drying process in continuous drum dryers differs from the drying of single objects in a batch mode. Drying process is affected by too many factors; hence, it is practically impossible to obtain an analyt- ical solution from the initial equations of heat and mass transfer, since the duration of drying depends on the opera- ting parameters. Therefore, it is of high theoretical and practical importance to create a highly efficient rotary drum dryer. Its design should be based on an integrated research of non-stationary processes of heat and mass transfer, hydrodynamics of fluidized beds, and drying kinetics in the convective heat supply. The experiment described in the present paper featured sunflower seeds. It was based on a systematic approach to modelling rotary convective drying processes. The approach allowed the authors to link together separate idealized models. Each model characterized a process of heat and mass transfer in a fluidized bed of wet solids that moved on a cylindrical surface. The experiment provided the following theoretical results: 1) a multimodel system for the continuous drying process of bulky mate- rials in a fluidized bed; 2) an effective coefficient of continuous drying, based on the mechanics of the fluidized bed and its continuous dehydration. The multimodel system makes it possible to optimize the drying process according to its material, heat-exchanger, and technological parameters, as well as to the technical and economic characteristics of the dryer.
18152
Аннотация
Таблицы и рисунки
The present paper features Triticale grain processing. The research involved two Russian cultivars of Tri- ticale grain, i.e. Ramzes and Saur. We investigated two schemes of processing these grain varieties into high-qua- lity baker’s grade flour. The first scheme was reduced and included only the processes of breaking and reduction, whereas the second scheme was more advanced and included breaking, sieving, sizing, and reduction processes. The paper gives a thorough description of the processing schemes, their parameters, and milling modes. A detailed ana- lysis proved the high efficiency of the advanced scheme which presupposed the use of sieve purifiers. Their expe- diency was determined by the specifics of break dunst products at breaks I, II, and III. The Triticale flour varie- ties were produced by mixing various flows of the central, intermediate, and peripheral parts of the Triticale grain endosperm. The reduced scheme produced a 40% yield for the Ramzes variety (ash content = 0.70%, according to the State Standard 34142-2017*), while the advanced technological scheme resulted in a 63% yield. As for the Saur variety, the advanced scheme produced a total yield of 78%, which was 0.6% higher than in the reduced scheme. The advanced scheme resulted in a 46% yield of the T-60 flour variety, which had the lowest ash content among all the va- rieties of Triticale flour, whereas the reduced scheme failed to produce the flour of this variety. The experiment also involved the first-ever study of the rheological properties of Triticale flour varieties with Mixolab (Chopin Technolo- gies, France). The study revealed significant differences in baking absorption, doughing time, batch, gluten, viscosi- ty, amylase, and retrogradation. The best baking properties were displayed by T-70 and T-80 Triticale flours that were obtained from the central part of the endosperm, both in reduced and advanced processing schemes. However, the advanced scheme proved to be the most effective way of processing Triticale grain into baker’s grade flour.
18601
Аннотация
Таблицы и рисунки
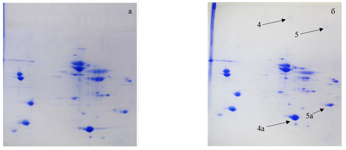
The effect of animal and plant proteases as well as starters, or starter cultures, on protein aggregates for- mation in raw pork and beef as well as meat products was studied. The proteomic analysis of raw meat revealed that animal proteases – pepsin and trypsin – caused the aggregation of isoform 2 of protein 1 containing 4.5 LIM domains. Vacuum packaged meat showed the same results during storage, while unpacking led to the acceleration of the aggregation process due to autolysis. In addition, mixed aggregated fragments, such as muscle creatine phos- phokinase and glutathione-S-transferase, actin and perilipin, and type II keratin appeared in those samples. Starters with Pediococcus pentosaceus 31 from the Russian National Collection of Industrial Microorganisms (VKPM-8901) caused myoglobin and troponin I aggregation, while the formation of soy proteins aggregates (glycinin G1 and glyci- nin A3B4) was detected in meat products as a result of the autolysis process and the use of cholesterol-lowering star- ters. All in all, proteases which cause protein aggregation may be less effective for raw meat tenderization, whereas the proteins identified may be used as quality biomarkers.
13058
Аннотация
Таблицы и рисунки
This paper shows a possibility of establishing the authenticity and geographic origin of wines by neural networks based on multi-element analysis. The study used 144 samples of Cabernet and Merlot dry red wines produced in Krasnodar Region according to traditional technologies. The wines were provided by the producers or purchased in retail stores. The concentrations of 20 micro- and macroelements in red wines were determined by atomic emission spectroscopy with inductively coupled plasma. The analysis of average elemental contents showed a significant dependence of wine composition on the grape variety and place of origin, which enabled us to examine interrelations between the elements and think of a way to identify them by means of classification models. The software STATISTICA Neural Networks was used to assess a possibility of determining the grape variety and geographical origin. The neural networks constructed in the study contained five variables corresponding to the elements with statistically significant correlations between the names of the regions and the wine samples, namely Fe, Mg, Rb, Ti, and Na. These predictors were able to determine the grape variety and place of growth with a sufficiently high accuracy. In the test sample set, the accuracy reached 95.24% and 100% for variety and region identification, respectively. A software product was developed to automate the calculations based on the neural networks. The program can establish the grape variety from a minimal set of microelements, and then, based on the variety and the same set of microelements, determine its place of origin.
22511
Аннотация
Таблицы и рисунки
The potentials of rice bran sourdough in bread making are recently gaining popularity. However, there is no information on the influence of processing conditions on the quality attributes of rice bran sourdough. To inves- tigate the influence of fermentation time and temperature on the levels of acidity (pH and TTA) in rice bran sour-dough fermented with L. plantarum, we applied response surface methodology (RSM). Furthermore, we studied the effect of different fermentation time and temperature on the total phenolic and volatile compounds in the sourdough. GC/MS measurements for the evolution of aroma volatile compounds (VOCs) in the rice bran sourdoughs were conducted. The higher and longer the fermentation temperature and time, the higher the acidity levels in the sour- doughs. Fermentation temperature and time do not have a significant effect on the total phenolic sourdough con- tents. Forty-seven VOCs were detected in the rice bran sourdoughs. The major VOCs were acetic acids, ethanol, 2-Methoxy-4-vinylphenol, Hexadecanoic acid, 1-(hydroxymethyl)-1,2-ethanediyl ester, acetoin, and 2-methoxy-Phe- nol. The sourdough fermented at 35°C for 13 ho contained the largest number (27) of aroma compounds and had the highest acidity. These fermentation conditions are close to the optimal parameters (temperature – 33°C, duration –
12.5 hours), obtained as a result of applying RSM for rice bran fermentation. Thus, high quality bran sourdough can be produced at the temperature of 33°C for 12.5 hours. The results of this study will be useful to produce a quality rice bran sourdough bread with appealing aroma and a long shelf-life.
17509
Аннотация
Таблицы и рисунки
The aim of this research was to assess the nutraceutical potential of Hura crepitans seed oil in food chemistry. For that, we determined the phytochemical composition, physicochemical parameters, mineral composition, as well as proximates of the oil under study. The yield of the oil obtained by the Soxhlet method was 47.8 ± 0.2%. According to the phytochemical screening result, the oil contained saponin, alkaloid, terpenoids, steroids, and cardenolides. Quantitative analysis of proximates for the Hura crepitans seed oil displayed 10.1 ± 0.4% of protein, 19.4 ± 0.1% of crude fibres, 14.5 ± 0.5% of carbohydrates, 5.3 ± 0.2% of water, and 2.9 ± 0.1% of ash. Some selected physicochemical parameters such as refractive index, pH, and specific gravity were 1.47; 5.2; and 0.80, respectively. Cloud point was 6.20°C. Metal content determination revealed the presence of mineral substances such as magnesium (119.51 ± 0.25 mg/kg), potassium (4.25 ± 0.04 ppm), iron (4.01 ± 0.03 mg/kg), manganese (3.66 ± 0.02 ppm), sodium (2.18 ± 0.02 ppm), calcium (0.11 ± 0.001 ppm), zinc (0.04 ± 0.001 µg/g), and cadmium (0.0028 ± 0.0004 mg/kg). However, such minerals as nickel and lead were not detected. The structural analyse was carried out based on physicochemical properties and spectroscopic data of the Hura crepitans seed oil. The results of the research proved the nutraceutical potential of this oil to use as raw materials in various areas of industry.
16141
Аннотация
Таблицы и рисунки
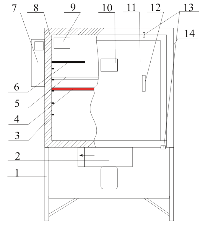
The paper describes physical characteristics of drying animal- and plant-based raw materials with pulsed infrared emitters. Furthermore, it discusses how to select and use infrared emitters to produce high quality products with a long shelf-life. Using an experimental facility, we identified basic patterns of changes in the heat flux density. We also analysed the drying thermograms and assessed the influence of process factors on the removal of moisture from raw materials and the preservation of biologically active substances in dried and concentrated products. We determined specific kinetics of drying in different modes of power supply and selected the most efficient pulsed cera- mic emitters. These emitters had a high rate of heat transfer and an ability to accurately target molecular bonds, thus reducing the drying time and energy costs. Mathematical modelling enabled us to obtain specific values of process parameters for pulsed infrared drying of plant materials. The heating time constant was calculated for root and tuber vegetables, depending on their moisture content and size. The study showed that root and tuber vegetables should not be heated to more than 60°C when irradiated with a 500 W medium-wave emitter at a working distance of 250 mm during a full 10-minute cycle. The optimal modes of drying liquid products with milk and plant proteins included a heating power of 400 W, a radiant heating temperature of 60°C, and a layer thickness of 10 mm. The selected modes of pulsed infrared drying of sugar-containing root and tuber vegetables reduced the duration of moisture removal by 16–20% and cut energy costs by 16.6%. This unconventional method of infrared drying of whole milk, whey, whey drinks, and milk mixture preserves beneficial microflora and increases the nutritional value and shelf-life, with a pos- sible content of chemically bound water of polymolecular and monomolecular adsorption ranging from 10 to 15.58%.
17908
Аннотация
Таблицы и рисунки
The use of ultraviolet radiation in the treatment of milk and other liquid foods is a very promising field of study since it reduces their bacterial load. It is rarely used to increase the vitamin D3 content and modify the protein and fatty acid composition of milk. The paper describes how different parameters of ultraviolet radiation influence such characteristics of raw and pasteurized milk as the mass fraction of total protein, nonprotein nitrogen content, active and titratable acidity, general bacterial load (QMA&OAMO), fatty acid composition, and vitamin D3 content. Low-pressure gas-discharge lamps were used to treat a 400 µm moving layer of milk with ultraviolet radiation. The radiation time, its doses, and the milk flow rate changed in the ranges of 5–25 min, 5.1–102 mJ/cm2, and 0.04453- 0.13359 m3/s, respectively. We identified optimal radiation ranges that lead to both a lower microorganism content and a higher vitamin D3 content. Our study also determined specific correlations in the mutual changes of the given parameters. The treatment ranges did not produce any significant changes in other physico-chemical properties of milk. We also found that vitamin D3 was synthesized in raw and pasteurized milk in a similar way. Moreover, there was an insignificant decrease in the vitamin D3 content in milk treated with ultraviolet radiation during storage for up to 48 hours. On the whole, the results indicate that the treatment of milk with ultraviolet radiation in the dosage range from 5.1 to 102 mJ/cm2 has a complex effect on the total bacterial load (QMA&OAMO) and vitamin D3 content, whereas it has almost no effect on the protein and fatty acid composition.
57780
Аннотация
Таблицы и рисунки
The paper presents a study of Moskovskaya cooked smoked sausages formed in various artificial casings: fibrous (cellulose), collagen, and polyamide. An oxygen permeability oxygen permeability of the casings was above 40 cm3 and below 30 cm3/m2∙24 h∙bar. The study involved a sensory evaluation and instrumental tests using a VOCmeter multi-sensor system (‘electronic nose’) and a 7890A gas chromatograph with a 5975C VLMSD mass-selective detector (Agilent Technologies). We obtained original data on the qualitative composition and the quantitative content of substances that form the aroma of cooked smoked sausages in various types of casings. We found that the samples contained two groups of compounds with the chemical formulas of CiHkOl and CiHkOlNm. They had a ratio of (12–33):1 and were, apparently, the most significant aromatic substances. The main class of identified compounds was carboxylic acid esters, accounting for 76.61–81.60% of the total substances. We established a correlation between the aroma intensity and the concentration of chlorine-containing and nitrogen-containing compounds (except amines, amides, nitriles, and hydrazides) in the gas phase. The results did not confirm our hypothesis about the influence of the casing type and its permeability on the development of oxidative processes in the production of cooked smoked sausages. The practical significance of the study lies in creating a database of over 200 aromatic compounds that allows for a deeper understanding of aroma formation processes in cooked smoked sausages. The database can be used to exert a purposeful technological influence on the quality indicators and create various flavour compositions to adjust the sensory properties of the product.
15838
Аннотация
Таблицы и рисунки
In this study, we applied the D-optimal mixture design method to optimise prebiotic sausage formulation with inulin, konjac (Amorphophallus konjac L.), and starch. Also, we investigated the effect of each component indi- vidually as well as their mixtures on cooking characteristics, texture, colour and sensory properties of prebiotic sau- sages. The results of this study revealed that the increase in inulin content in the formulations of sausages led to lower frying loss, and increased water holding capacity (WHC), lightness, and overall acceptability. The incorporation of konjac increased the cooking yield, hardness, cohesiveness, redness, and yellowness. On the other hand, konjac added into the sausage formulation decreased overall acceptability. The mixtures of inulin, konjac, and starch improved the cooking characteristics and overall acceptability of the sausages without significant negative effect on the color or sensory properties. The results of the study clarified that the optimum amounts of inulin, starch, and konjac were 2.09; 2.76; and 0.146 %, respectively. The obtained results make it possible to use the combination of these components to produce prebiotic sausage.
14151
Аннотация
Таблицы и рисунки
The aim of this study was to analyse the effect ferrous gluconate and ferrous lactate on the rheological behaviour of dough from a high extraction rate. For fortification of wheat flour, we used iron ions in a divalent form in amounts of 3, 4, and 5 mg/100 g. To record the rheological characteriscics of the fortified wheat flour dough, Farinograph, Amilograph, Falling Number, Rheofermentometer, and Thermo Haake Mars dynamic rheometer were applied. The Farinograph did not show significant changes in the water absortion values in the samples with ferrous salts. As for dough development time and dough stability, small amounts of ferrous additives increased and large amounts decreased those parameters. The effect was more significant in the samples with ions from gluconate form than from lactate salt. The Amylograph recorded an increased peak viscosity with an increasing ferrous salt quantity. That was the case for both ferrous salt forms. The increased was in a similar way for both types of ferrous salt forms used. The total CO2 volume production and the retention coefficient obtained with the help of the Rheofermentometer device increased in the dough samples with 3 and 4 mg of iron/100 g. However, the addition of 5 mg of iron decreased those indicarors. The decrease was more significant for iron ions from ferrous ferrous gluconate than from ferrous lactate. The fundamental rheological properties of the dough were analysed by using a frequency sweep and oscillatory temperature sweep test. Ferrous lactate and ferrous gluconate influenced both the fundamental and empirical rheological properrties og the dough in similar way.
14637
Аннотация
The present research features the legal effect of environmental regulation on food security in the Russian Federation. The author analyzed the system of environmental regulation together with its legal instruments, and gave a legal assessment of its efficiency in providing safe environment and food products. The efficiency of the mechanism of environmental regulation affects the safety of products. However, the system of environmental regulation is large- ly represented by sanitary and hygienic standards and does not fully meet modern challenges. Meant as a basis for environmental and food security, the current environmental regulation takes into account neither local conditions nor the level of aggregate anthropogenic load on environment, thus failing to ensure the production of safe, high-quality food products. The study proves that there is an inextricable link between environmental regulation and environmen- tal safety, which has to be taken into account in state policy planning. By providing environmental safety, environ- mental regulation serves as the main means of food security. The author proposes to develop legislation on various types of environmental standards that would ensure food quality and security. The measures of food quality and se- curity should be based on the principles of environmentalisation and sustainable agriculture.
13818
Аннотация
Таблицы и рисунки
The Arctic is currently a strategic region of Russia and it requires military protection. Good nutrition is a prerequisite for successful performance of the servicemen in such extreme conditions. The Russian armed forces do not have a special ration for the Arctic region. The existing rations lack products enriched with biologically active substances, probiotics, prebiotics, or vitamin and mineral complexes. Subcaloric nutrition, even with short-term physical exertion, in combination with low temperatures deprives the human body of vitamins and minerals. Therefore, the development of freeze-dried bioproducts with functional properties is highly relevant. This article presents the results of a study aimed to develop new freeze-dried milk-based bioproducts for the Russian military in the Arctic. For this, we created a microbial consortium of lactic acid bacteria with a wide spectrum of antimicrobial activity. We also used a range of functional ingredients, namely pectin, pine nut meal, a ‘Lactobel’ prebiotic protein-and-carbohydrate product, rowan puree, and rosehip syrup in the amounts established during the study. The new freeze-dried milk-based bioproducts named ‘Pobeda’, enriched with combiotics and metabiotics, will provide the Russian military with better nutrition in the extreme conditions of the Arctic.
17580
Аннотация
Таблицы и рисунки
Application of essential oils in controlling plant pathogens is generally associated with difficulty due to low solubility in water, strong odor, physical and chemical instability. One of the ways to minimise these effects is to use a nanoemulsion system. It also increases the antimicrobial properties. In this research, after preparation of cinnamon (Cinnamon zeylanicum L.) essential oil (CEO), nanoemulsion of the essential oil was prepared and its physical and chemical properties were determined. The particle size of nanoemulsion was determined to be 115.33 ± 3.97 nm. Emulsification and nanoemulsion of the essential oil along with thiabendazole as an antifungal agent at various concentrations of active ingredient were studied for control of Rhizopus stolonifera and Botrytis cinerea fungi, strawberry fruit decay. Results in solid Potato Dextrose Agar (PDA) medium indicated that emulsion and nanoemulsion of CEO have a significant difference in antifungal activity against B. cinerea and R. stolonifera. The minimum inhibitory concentration was 500 and 1,000 μl fungi per liter of culture medium. According to the results of the research, essential oil nanoemulsion had a significant effect on the reduction of a fungal cartilage of strawberry fruit. In general, nano-emulsions of the essential oil showed more antifungal activity than essential oil. There was no significant difference in decay control between thiabendazole and CEO. The nano-emulsion of cinnamon oil at a concentration of 0.2% proved significant effect in reducing fruit decay and showed the lowest fruit infec tion (5.43%). Consequently, nano-emulsion of essential oil is recommended for the production of natural fungicides.

















































































































































